Se entrerà in produzione, sarà il colpo a sorpresa in grado di portare Apple a una distanza siderale dai suoi concorrenti. Quando arriverà sugli scaffali, sarà davvero una rivoluzione, non l’ennesima piccola evoluzione di una famiglia di prodotti, gli smartphone, oramai troppo uguali a sé stessi.
Si tratta di un dispositivo con uno schermo in grado di piegarsi perfettamente in due, dimezzando il suo ingombro. Un prodotto sottile, da continuare a tenere in tasca in modo più discreto e, quando serve, utilizzare nel pieno della sua dimensione.
Un sogno meno improbabile a partire da questo lunedì, quando la notizia del prossimo possibile passo della mela morsicata ha iniziato a circolare.
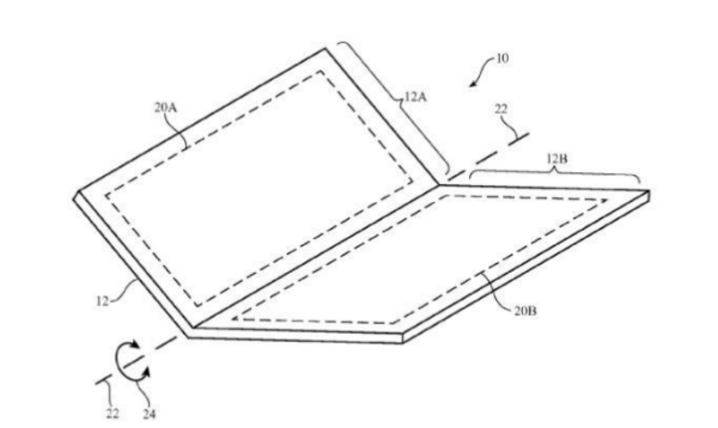
A diffonderla, non il solito blog ben informato che raccoglie indiscrezioni più o meno probabili, ma lo «United States Patent and Trademark Office», l’ufficio brevetti americani, dove il colosso guidato da Tim Cook ha depositato lo schema di progetto che vedete qui sotto. Un concept, un’idea di cellulare che si richiude come una banconota o un foglio di carta al centro, grazie a un sistema di minuscoli tubi in carbonio.
20535109
Non è la prima volta che Apple esplora questa strada: la studia da almeno tre anni e l’anno scorso mise in cassaforte un altro brevetto, stavolta dedicato a tecnologie malleabili non solo nello schermo, ma anche dal punto di vista delle batterie e dei circuiti. Una strada peraltro esplorata dai rivali più agguerriti dell’azienda, da LG fino a Samsung.
La mossa di lunedì dimostra un fatto incontrovertibile: la mela prosegue su questa strada e la sta affinando, visto che l’ultimo schema pare più credibile e utile del precedente, in cui le aree pieghevoli erano in due diversi punti dell’oggetto ma non c’era mai un riferimento esplicito al fatto che potesse raggiungere il livello di flessibilità totale come nel disegno sopra.
Nel 2014 esplose il «bendgate», il clamore poi rientrato degli iPhone 6 che si deformavano tenendoli a lungo nella tasca dei pantaloni. Da una piega molto più pronunciata e completamente voluta, potrebbe passare il nuovo corso del melafonino e di tutta la Apple.
